
Muchas marcas lanzaron el 2019 sus primeras propuestas de celulares plegables, entre ellos están el Huawei Mate X Pro y el Samsung Galaxy Fold. Aunque tuvieron algunos problemas con las bisagras, la pantalla, el doblez, y diversos retrasos de lanzamiento, además de venta, parece que Apple parece ver el futuro también en este sector de smartphone.
Y es que la compañía de la manzana ha patentado lo que podría ser su primer celular plegable, un iPhone que se dobla en varias partes y deja mucho qué decir.
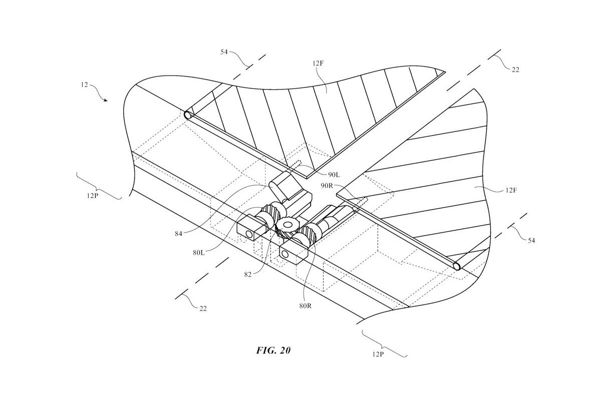
En la patente se explica cómo en los terminales plegables pueden apreciarse diferencias de relieve en la pantalla, algo que no ha terminado de gustar a los consumidores. Para ello Apple propone un mecanismo con unas solapas que se separarían o unirían para acompañar a la pantalla con sus movimientos, evitando que se deteriorara.
Aunque no se ha confirmado si este modelo vaya ser un futuro celular ya que podría tratarse de la patente de un iPhone plegable (con una pantalla vertical a lo Motorola Razr u horizontal a lo Galaxy Fold), un iPad plegable del que ya ha habido rumores o incluso un MacBook, para que se pueda plegar todavía más o tener una pantalla para reemplazar el teclado.

Sin embargo, cabe precisar, tal como cita applesfera, que Apple Park ha estado trabajando con pantallas plegables en sus laboratorios secretos, pero de ahí a tener un producto a la venta hay muchísimas decisiones. Puede que lo veamos en uno o dos años, o puede que no lo veamos nunca.
Por el momento en el próximo Mobile World Congress (MWC 2020) se presentarán nuevos terminales con pantalla plegable, uno de ellos es el Samsung Galaxy Flip Z, el mismo que regresa la tapita a los dispositivos móviles.
De igual forma, Motorola, quien fue el primero en contar con esta característica, mejorará su Motorola Razr y le sumará mucho más colores llamativos a lo que sería uno de los celulares más baratos y plegables.









